Проведите вверх и вниз
Принцип работы
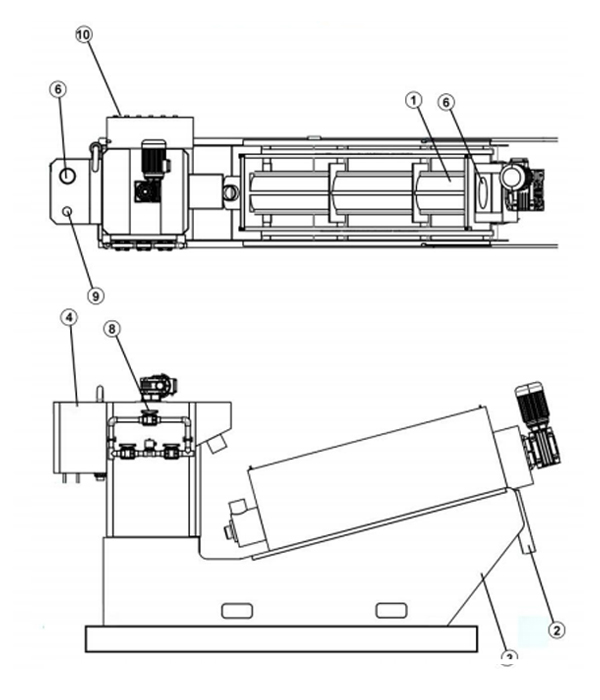
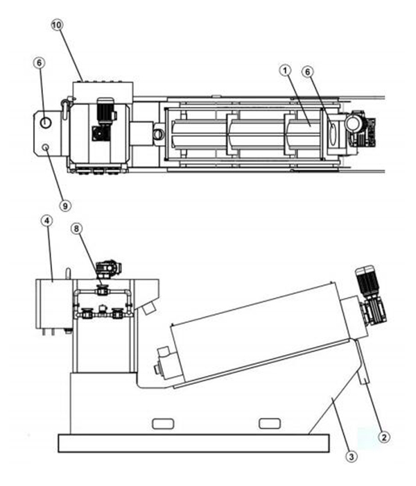
Пресс для обезвоживания осадка шнекового типа (Screw Press) имеет фильтрующий элемент, состоящий из двух типов колец: неподвижного кольца и подвижного кольца; и винт, который толкает фильтрующий элемент и перемещает шлам под давлением.



















Английский
عربي
испанский



